Description
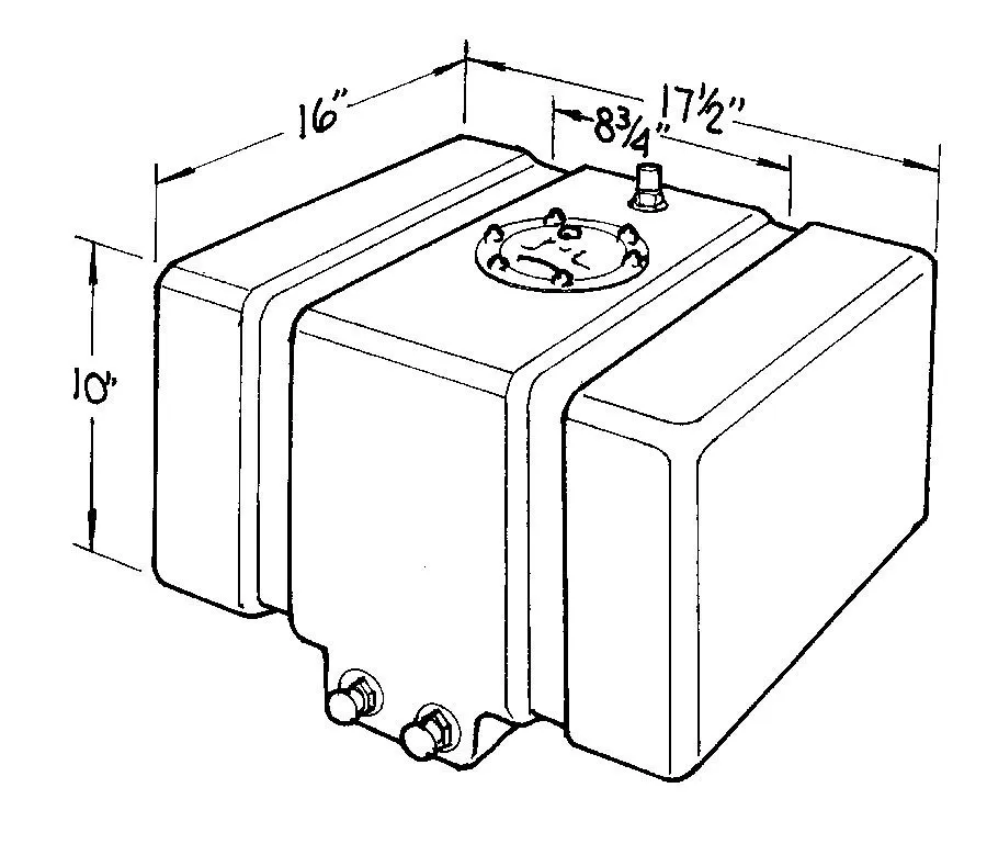
Fuel Cell – Drag Race – 12 gal – 17.5 in Wide x 16 in Deep x 10 in Tall – Two 8 AN Outlets – 6 AN Vent – Foam – Plastic – Black – Each
Why Choose Us?
Frequently Asked Questions
About JAZ
Founded in 1980, Jaz Products manufactures a wide range of plastic and aluminum automotive products, and are particularly well known for their fuel cells and racing seats.







Reviews
There are no reviews yet.